The Übermatch
Audio Matching Transformer for Sound Powered Phones

Hi Friends. Here is a little afternoon project that I am quite
proud of. The main reason for all this pride is that I drilled all the holes correctly!
Recently I introduced a new product, which I call the
Überformer.
It is an auto-transformer
that is custom manufactured for crystal radio applications. The input impedance is
high enough to reduce the loading on a crystal radio tank circuit. This makes your radio
more selective. The power delivered to the headphones is greater when the circuit is
matched. The picture
below shows the five taps ranging from 600 to 10000 ohms. Just right for all kinds of
headphones.
The circuit is straight forward. The only unusual part of this circuit is that variable resistor
and capacitor in parallel at the signal input. This is called a Benny, named after
Ben Tongue, a fellow crystal set hobbyist
that knows what he is doing. Ben taught us that if a transformer is connected directly
to the diode, as the signal increases, there will be a dc current flowing through the
diode, tank and transformer. The dc resistance of the transformer is much lower than
it's impedance. As the signal increases, the low dc resistance of the transformer
will load the tank, causing distortion and bad selectivity.
The Benny will restore the high dc resistance to the detector circuit. The
.1 uF capacitor across the resistor allows audio frequencies to pass with little loss.
The resistor in this case is an audio taper (log taper) potentiometer. The pot is wired so
that there is a short when the pot is turned fully counter-clockwise. This allows
for a better adjustment at the lower resistance values.
When I build a crystal set with the transformer built in, I generally start
with a pot and listen to a loud station. I adjust the pot for the lowest distortion,
and measure that value. I replace the pot with fixed resistor. This is fine because
the crystal set will be the same at all times. But in the case of this project, it will
be moved from radio to radio and having the adjustment is nice.
The box is a Hammond 1591TBG.
Drilling is very easy and the parts are not crowded together.
DetektorEmpfängerKopfhörerAnpaßÜbertrager
Crystal Radio Headphone Matching Transformer
I sure get a hoot out of those über long German words.
This is a variation of the project shown above. The main difference is the
transformer that I used. Gerd Reinhöfer in Germany makes some really nice
headphone matching transformers. This is a special one that was custom wound for a customer.
The customer said it worked great, so Gerd added it to his catalog. The model
number is 53.48 spez.
shown at the bottom of the page. They aren't exactly cheap as it takes Gerd a couple
of hours to make one of these, including 90 minutes just to put the 14,000 turns
of wire on the core. That with the crappy $ vs. Euro rate now days, might put it out
of range for most of you, but I felt you should know about this fine product made
for the crystal radio hobbyist.
The usual "benny", which I called "Z-R Equalization" (impedance to resistance), which are
found on many best modern crystal sets (well my sets anyway).
It lowers distortion and improves loaded tank Q around strong stations.
Also on the box are two rotary switches. One to select the input impedance and the
other for the output. By having everything variable, I can do a better job evaluating
the transformer.
The box is a the high quality, Canadian made
Hammond 1591DBG ABS plastic box.
This has become an international project, with parts made in the USA, Canada, Germany
and China.
How does it work? I don't know right now. I don't have a crystal set in the house.
As soon as I have built one, I'll let you know. Of course, if you needed a very high
impedance output from a low impedance input, this can be connected to operate in the
other direction.
If you want one of these, transformers, contact Gerd Reinhöfer by using the
e-mail address on his ordering page.
He'll gladly communicate with you in English.
I didn't put a schematic here as the technical drawings are on the transformer site.
Just substitute his transformer in place of what I had used in the above project.
Dave
Simple Matching Transformer for Sound Powered Headphones
Audio Matching Transformer for Sound Powered Phones
So far (up to set #26),
I have centered my designs around crystal and magnetic high impedance
earphones. Now that the DX bug has bit and I want to do better in the
next crystal set contest
, I decided to use sound powered phones.
Darryl Boyd
has the best information about sound powered phones. Using sound
powered headphones requires some extra circuitry when used with a crystal
detector. Again, I went to the web and found
Ben Tongue has some excellent
information on matching headphones to crystal sets. Of particular interest
is his document #5.
My thanks to these two dedicated crystal radio people for providing the
technical materials so that I could build my matching box and offer the
plans to the rest of you.
I used a pair of the Mouser TM-117 50,000:1000 ohm
transformers in my
matching transformer project. I wired it according to the circuit below.
Along with this circuit, I have included some of the designs that I have
used in my past sets. It is easy to compare one circuit to another. The
high impedance magnet earphones will work with any of the circuits, while
the crystal earphone will not work with the magnetic earphone circuit but
will work with the sound powered circuit.
Dave
Schematic
Audio Matching Transformer Box
"The Ouncer"
Here is a little Saturday project that I whipped up. 2005 has been a slow
start year for me. It is early March and I have only built two projects. Sorry. Between
a little winter sickness, answering all your appreciated e-mails and filling a few orders,
time has been a little short.
I call this project - The Ouncer. This is named for the small UTC
Ouncer transformer as part of this project. Unfortunately these are hard to come by as
they aren't made any longer. I found mine on eBay.
The impedance transformation is from 1meg ohm to 15k ohm.
However the project did turn out well, I decided to show it off here. Besides you can
find a substitute transformer. The other transformer is
easy to buy.
My dx crystal sets require a very high impedance audio transformer to reduce the
loading on the tank coil. When the tank (main coil and variable capacitor) is loaded,
the selectivity and sensitivity is reduced. Audio transformation from the diode output
to the headphones is essential.
There are two single pole, 3 position switches
in this project. The first one selects which tap on the Bogen transformer is connected
to the UTC. You could probably leave this switch off and connect the wire directly to
the violet tap. I like to see what the effects of quickly changing taps are, so I don't
mind the switch. The second switch selects which tap on the Bogen goes to the
headphones. I chose the red and orange wires (600 and 1200 ohms) and also the pink
8 ohm secondary wire. I may want to experiment with
low impedance speaker drivers.
If you have switches with additional poles available, you can connect all the taps
you want. This is a flexible project.
The "Benny" is a variable resistor in parallel with a fixed capacitor.
This little network is named after
Ben Tongue,
the person that brought the advantages of this to the crystal radio
communities' attention.
A detailed discussion of the Benny is on Ben's article
#01.
The value of the pot can be adjusted to equal the impedance
of the transformer. This cuts down on some distortion and selectivity problems
that occurs when tuning
in loud stations. The pot can be replaced with a fixed resistor.
The box is a Hammond 1591DBG ABS plastic box manufactured by Hammond in Canada.
As I stated earlier, finding that UTC transformer will be nearly impossible.
But check at the hamfests, eBay and your friend's junk boxes for something like it.
Dave
Inside View
Schematic
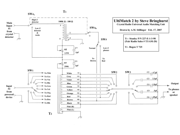
Ultimatch Matching Transformer
After seeing the Select-To-Match transformer system
on
Darryl Boyd's crystalradio.net site earlier this year, I
knew that this is what I had to build. Steve Bringhurst just kicked it up
a notch with a new design. I saw it this morning and this evening it is built!
The circuit and description are shown in the
UltiMatch and UltiMatch 2
section towards the bottom of the page. This one is the UtiMatch 2.
I used one switch to combine the functions of switches SW4 and SW5. I added
a few more capacitors in the output section as I had so many switch positions that
I could use. Otherwise my unit is just as described in the article.
I need to label the panel and get used to how it works before
I can offer any opinions, but I liked the circuit very much. Perhaps this will
get me just one more station to move me up towards the top of the winners list
in the crystal set contest.
Simple Matching Circuit Using A Bogen Transformer
Audio Matching Transformer for Sound Powered Phones
Here is a simple circuit for matching your higher impedance
crystal sets to your headphones. I took some of the designs found on the
crystalradio.net
and adapted it to my own tastes. I like building my crystal
radio type projects on blocks of wood. In this case, a cover that was left over
from one of my radio boxes. I made a couple of assumptions on my use of this
transformer. First I decided to have only one input impedance, which is the
highest impedance of the transformer. I also assumed that once I had this set up
for a set of headphones, I was not likely to change the transformer tap. So instead
of a multi position switch, I elected to use my favorite little thumb nuts.
The transformer is the Bogen T725 speaker
matching transformer which several crystal set builders have found to be a favorite.
The input impedance is about 40000 ohms. I included a small RC network (also called
in some places a "Benny") to make the dc resistance about the same as the impedance
(ac resistance) of the transformer. This cuts down the distortion that occurs when
dc loading of the detector in heavy.
The output taps are connected to screw posts with thumb nuts. Wires
can be connected between the common and any of the impedance taps, or a single
wire that goes to the phone jack can be connected to one of the taps.
The available taps are 40k, 20k, 10k, 5k, 2.5k, 1.2k, 600, 300,
150 and 8 ohms. On the output side I used 20k, 10k, 5k, 2.5k, 1.2k, 600, and
8 ohms (just in case I want to use my old stereo headphones). Of course you
can use only the taps you want or put them all on.
This is not a wonderful invention but it looks nice on the
table. Try one if you get a chance.